普俊律师| 浙江省人身损害赔偿项目及标准(2026年1月)
来源:
|
作者:普俊所
|
发布时间: 2026-01-22
|
1280 次浏览
|
🔊 点击朗读正文
❚❚
▶
|
分享到:
浙江省人身损害赔偿项目及标准一览表
(2026年1月)

注1:本表格适用于六十周岁以内的受害人;
注2:本表不包括被扶养人生活费。
根据医疗机构出具的医药费、住院费等收款凭证,结合病历和诊断证明等相关证据确定。
A类:受害人有固定收入,误工费按实际减少的收入计算。 |
B类:受害人无固定收入(但受害人能证明其最近三年平均年收入)。 公式=最近三年平均年收入X(元/年)×误工期限(天)÷365(天)。 |
C类:受害人无固定收入(受害人不能举证证明其最近三年平均年收入)。 公式=浙江省上一年度私营单位从业人员年平均工资(77230元/年)×误工期限(天)÷365(天)。 |
交通费根据受害人及其必要的陪护人员因就医或者转院治疗实际发生的费用计算。交通费应当以正式票据为凭;有关凭据应当与就医地点、时间、人数、次数相符合。
营养费一般按照30元/天计算,营养期参照鉴定机构、医疗机构意见确定。
住院伙食补助费可以参照当地国家机关一般工作人员的出差伙食补助标准予以确定,一般为100元/天。
受害人确有必要到外地治疗,因客观原因不能住院,受害人本人及其陪护人员实际发生的住宿费和伙食费,其合理部分应予赔偿。
按照浙江省上一年度非私营单位从业人员年平均工资标准(137239元/年)×6(月)=68619.5元计算。受害人亲属办理丧葬事宜支出的交通费、住宿费、误工损失等其他费用不再另行计算。
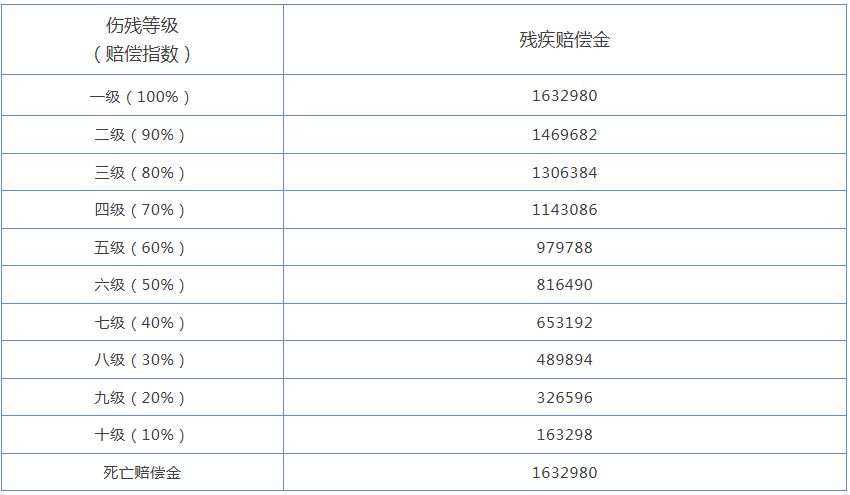
| 浙江省上一年度城镇居民人均可支配收入 81649(元/年)×20(年)×伤残赔偿系数 |
| 浙江省上一年度城镇居民人均可支配收入 81649(元/年)×{20-(实际年龄-60)}年×伤残赔偿系数 |
| 浙江省上一年度城镇居民人均可支配收入 81649(元/年)×5(年)×伤残赔偿系数 |
| 浙江省上一年度城镇居民人均可支配收入 81649(元/年)×20(年) |
| 浙江省上一年度城镇居民人均可支配收入 81649(元/年)×{20-(实际年龄-60)}年 |
| 浙江省上一年度城镇居民人均可支配收入 81649(元/年)×5(年) |
| 浙江省上一年度城镇居民人均消费支出 50704(元/年)×(18-实际年龄)÷扶养人数×伤残赔偿指数 |
| 被扶养人无劳动能力又无其他生活来源的: 浙江省上一年度城镇居民人均消费支出 50704(元/年)×20(年)÷扶养人数×伤残赔偿指数 |
| 浙江省上一年度城镇居民人均消费支出 50704(元/年)×{20年-(实际年龄-60)}÷扶养人数×伤残赔偿指数 |
| 浙江省上一年度城镇居民人均消费支出 50704(元/年)×5(年)÷扶养人数×伤残赔偿指数 |
被扶养人生活费不再作为单独的人身损害赔偿项目进行计取,有关费用金额应合并计入残疾赔偿金或死亡赔偿金,作为赔偿金项目费用的组成部分。
根据我省审判实践,一般以5万元为限。如果侵权行为情节特别恶劣,被侵权人的损害程度特别严重或者社会影响特别大,可适当提高赔偿金额,但原则上不超过10万元。
残疾辅助器具价格一般按照国产普及型的配置标准确定。伤情有特殊需要的,可以参照辅助器具配制机构的意见确定相应的合理费用标准。

一、城镇居民人均可支配收入81649元
https://tjj.zj.gov.cn/col/col1229129214/art/2026/art_9071b51ec2134c06ae24deac04e430f4.html
二、城镇居民人均消费支出50704元
https://tjj.zj.gov.cn/col/col1525493/index.html
三、非私营单位从业人员年平均工资137239元
https://tjj.zj.gov.cn/art/2025/6/11/art_1229129205_5528012.html
四、私营单位从业人员年平均工资77230元
https://tjj.zj.gov.cn/art/2025/6/11/art_1229129205_5528012.html
